КЛАДОЭНДЕЗИС НАСЕКОМЫХ

классификация

рисунки

указатель
признаков

термины
рус.

термины
лат.

fg

C  U V W X Y Z

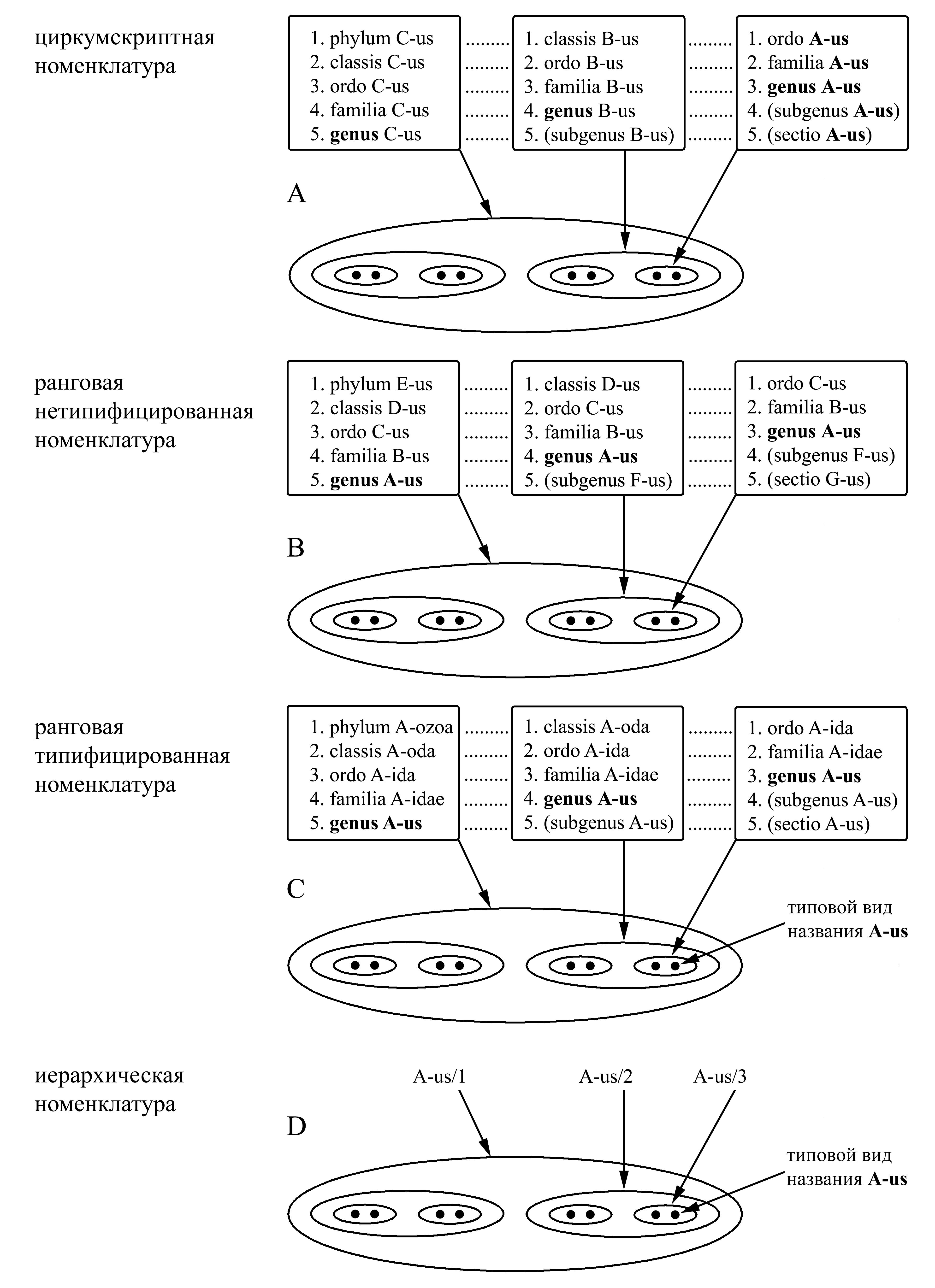
 I-6.2. Разные типы номенклатур и названий

Рис. 1.8. Принципиальные различия циркумскриптных и ранговых, типифицированных и нетипифицированных номенклатур. A – циркумскриптная номенклатура (нетипифицированная);  B – ранговая нетипифицированная номенклатура; C – ранговая типифицированная номенклатура; D – иерархическая номенклатура (типифицированная). Черными кружочками обозначены виды, эллипсами – надвидовые таксоны. На рисунках A–C названия каждого таксона даны для пяти разных вариантов расстановки рангов, обозначенных цифрами от 1 до 5. Вместо латинских названий таксонов везде написаны условные A-us, B-us и т.д. Один из рангов – genus (род) и одно из названий – A-us везде отмечены жирным шрифтом.